产品介绍

SP-KN-03

KN焊耳带机


实例展示

KN口罩

产品特点

  • 伺服系统操作,设备稳定性高,故障率低
  • 自动计数,可有效控制生产效率和生产进度
  • 耳带定位精准,超声波焊接,一个口罩四个焊点一次性完成

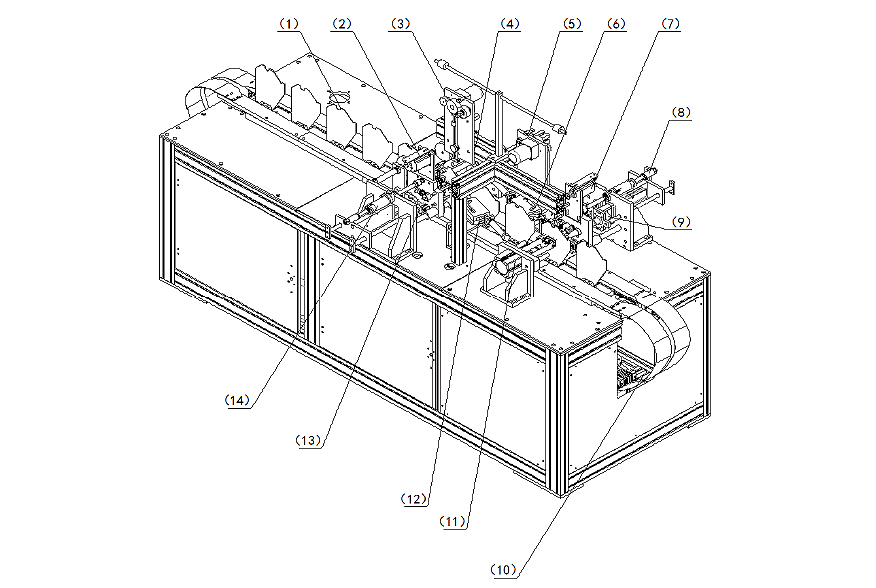
结构部件

  • (1)口罩定位机构
  • (2) 1#夹耳带旋转机构
  • (3) 1#穿耳带机构
  • (4) 1#送料板定位机构
  • (5) 2#穿耳带机构
  • (6) 2#剪耳带机构
  • (7) 2#夹耳带旋转机构
  • (8) 2#推超声波机构
  • (9) 2#超声波机构
  • (10)传送链机构
  • (11) 2#送料板定位机构
  • (12)1#剪耳带机构
  • (13)1#超声波机构
  • (14)1#推超声波机构

技术参数

  • 型号
    型号
    电机功率
    设备尺寸
    耳带长度
    超声波
    电源
    气压
  • SP-KN-03
    KN-03
    2500W
    2320*1120*1600mm
    170mm
    20KHZ
    单相
    0.5Mpa

资料下载

这是您想要的机器吗?